Режим работы:
Пн-Чт с 8:00 до 17:00
Пт с 8:00 до 16:00
Пт с 8:00 до 16:00


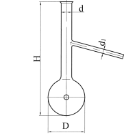
Колба КРН служит с целью проведения работ, связанных с перегонкой нефти и нефтепродуктов. ГОСТ 25336-82
| Шифр | Номинальная вместимость, мл | D, мм | H, мм | d, мм | d1, мм |
| 1293 | 125 | 69 | 214 | 20 | 8 |
| 1565 | 250 | 85 | 214 | 20 | 9 |
| 1918 | 250 | 85 | 125 | 28 | 13 |
| Производитель | Химлаборприбор |