Цены на сайте могут отличаться! Уточняйте цены у наших менеджеров.
Закрыть
Каталог товаров
Сравнение
0
Избранное
0
Поиск
Поиск
Поиск
Посмотреть все результаты
Личный кабинет
0
Каталог товаров
Лабораторная мебель
Посмотреть все товары
Изделия общего назначения
Посмотреть все товары
Дополнительные изделия к столам
Зонты вытяжные
Подставки и полки Смоленское СКТБ СПУ
Полки книжные настенные
Полки настенные
Приставки под дистиллятор
Стеллажи
Стенды титровальные
Столы
Столы приборные
Шкафы выдвижные
Ламинарные шкафы и боксы ПЦР
Сантехнические принадлежности для лабораторий
Столики подъемные
Столы демонстрационные
Столы для весов
Столы для микроскопирования
Столы для титрования
Посмотреть все товары
Аксессуары
Столы для хроматографов
Посмотреть все товары
Столы островные для хроматографов
Столы для центрифуг
Столы компьютерные
Столы лабораторные
Посмотреть все товары
Вспомогательное оборудование ЛАБ-PRO
Краны, вентили, патрубки, сливные мойки к мебели ЛАБ-PRO
Столешницы к столам на опорных тумбах ЛАБ-PRO
Столы лабораторные передвижные
Столы островные лабораторные
Столы офисные
Столы пристенные
Столы-мойки
Технологические стойки ЛАБ-PRO
Тумбы к лаб. столам серии ЛАБ-PRO
Тумбы опорные ЛАБ-PRO
Тумбы подкатные серии ЛАБ-PRO
Столы мойки
Посмотреть все товары
Дополнительные изделия к мойкам
Столы передвижные
Столы письменные
Столы преподавателя-лаборанта
Столы приборные
Столы пристенные лабораторные
Столы радиомонтажные
Столы специальные
Столы торцевые
Столы угловые
Посмотреть все товары
Столы угловые на опорной тумбе ЛАБ-PRO
Столы учащегося
Столы ученические
Столы-тумбы
Стулья и табуреты
Тележки транспортировочные
Тумбы
Посмотреть все товары
Тумбы встраиваемые
Тумбы подвесные
Тумбы подкатные
Тумбы приставные
Шкафы-тумбы
Шкафы вытяжные
Посмотреть все товары
Аксессуары
Дополнительная комплектация к Мебели ЛАБ-PRO
Нижние тумбы для вытяжных шкафов серии ЛАБ-PRO
Шкафы гардеробные
Посмотреть все товары
Дополнительная комплектация
Шкафы демонстрационные
Шкафы для газовых баллонов
Шкафы для кислот
Посмотреть все товары
Полки для полипропиленовых шкафов
Шкафы для нагревательных печей
Шкафы для одежды
Шкафы для стерильного хранения
Шкафы для химреактивов
Шкафы для хранения
Шкафы для хранения посуды, документов
Шкафы лабораторные
Шкафы модульные
Шкафы навесные
Шкафы сухого хранения
Посмотреть все товары
Аксессуары
Лабораторная посуда
Посмотреть все товары
Алонжи
Посмотреть все товары
Адаптеры
Ампулы
Аппараты
Ареометры
Баки
Банки
Посмотреть все товары
Банки для реактивов
Банки для хранения
Банки-капельницы
Барабаны
Барбатеры
Бидистилляторы
Бутирометры
Бутыли и бутылки
Посмотреть все товары
Бутыли Вульфа
Бутыли для хранения реактивов
Бутыли роллерные
Бутыли, канистры, фляги для производств
Бутыли-промывалки
Бутылки для крови
Бутылки для реактивов
Бутылки для хранения
Переноски для бутылок
Бюксы
Бюретки
Вакуумметры
Ванночки (резервуары) для многоканальных пипеток
Посмотреть все товары
Аксессуары
Виалы и септы
Вискозиметры стеклянные
Воронки
Посмотреть все товары
Воронки Бюхнера
Воронки делительные
Воронки лабораторные
Держатели для воронок
Выпарительные пластины
Газоанализаторы
Газопромыватели
Графины
Датчики Лабораторная посуда
Детали и оборудование к приборам и аппаратам
Дефлегматоры
Диссоциометры
Дифманометры
Дозаторы
Посмотреть все товары
Дозаторы бутылочные (флакон-диспенсеры)
Емкости
Посмотреть все товары
Емкости для взвешивания
Емкости для льда и жидкого азота
Запчасти к приборам
Затворы
Изгибы
Изделия бытового назначения
Испарители
Камеры
Посмотреть все товары
Камеры Горяева
Камеры для подсчета клеток
Капельницы
Капилляры
Каплеуловители
Кастрюли
Ковши
Посмотреть все товары
Ковши мерные
Колбы
Посмотреть все товары
Колбы Бунзена
Колбы Кьельдаля
Колбы Фаворского
Колбы грушевидные
Колбы качалочные
Колбы конические
Колбы круглодонные
Колбы мерные
Колбы плоскодонные
Коллекторы
Колонки
Колпачки
Комплекты для окраски препаратов
Комплекты и наборы стекла
Конденсаторы
Контейнеры
Посмотреть все товары
Контейнеры для гистологии
Контейнеры для отходов
Контейнеры лабораторные для взятия проб
Корзины
Посмотреть все товары
Корзины для транспортировки бутылок
Краны
Кружки
Кюветы
Посмотреть все товары
Аксессуары
Лаборатории
Лабораторная посуда из фторопласта
Ловушки
Лодочки
Посмотреть все товары
Лодочки для взвешивания
Лодочки для сжигания
Ложки
Лопаточки
Лотки
Мановакуумметры
Мензурки
Мешалки
Муфты
Насадки
Насосы
Обечайки
Отстойники
Палочки
Пауки
Переходники
Посмотреть все товары
Переходники для трубок
Переходы
Пикнометры
Пипетки
Посмотреть все товары
Пипетка мерная
Пипетки Мора
Пипетки Пастера
Пипетки глазные
Пипетки серологические
Планшеты
Посмотреть все товары
Планшеты для ПЦР
Планшеты для хранения микропрепаратов
Пластик и стекло для культур клеток
Посмотреть все товары
Аксессуары
Поглотители
Подставки
Полислайд
Поплавки
Посуда пластиковая для работ с растениями
Приборы
Приборы и принадлежности для СОЭ
Приемники
Пробирки
Посмотреть все товары
Аксессуары
Криопробирки для ПЦР
Микропробирки для криохранения
Пробирки Хангейта для анаэробов
Пробирки для ЯМР
Пробирки для взятия капиллярной крови
Пробирки для криозаморозки
Пробирки для урины
Пробирки и бутыли для центрифугирования
Пробирки и планшеты с штрих-кодами
Пробирки конические
Пробирки центрифужные
Пробирки цилиндрические
Пробирки, стрипы и планшеты для ПЦР
Промывалки
Психрометры
Разная лабораторная посуда
Реометры
Склянки
Посмотреть все товары
Склянки для промывания газов
Склянки для хранения реактивов
Склянки-аспираторы
Сосуды
Посмотреть все товары
Сосуды Дьюара
Сосуды для музейных препаратов
Спиртовки
Стаканчики
Посмотреть все товары
Стаканчики для взвешивания
Стаканы
Посмотреть все товары
Стаканы лабораторные
Стаканы мерные
Стаканы полипропиленовые
Стекла
Посмотреть все товары
Стекла покровные
Стекла предметные
Стекла часовые
Стеклошарики
Ступки и пестики
Тигли
Посмотреть все товары
Крышки к тиглям
Тигли стеклоуглеродные
Тройники
Трубки
Установки
Фильтры
Флаконы
Холодильники
Цилиндры
Посмотреть все товары
Цилиндры для ареометра
Чаши
Посмотреть все товары
Чаши выпарительные
Чаши кварцевые
Чаши кристаллизационные
Чашки Петри
Чашки
Посмотреть все товары
Чашки Петри
Шары
Шлифы
Эвдиометры
Эксикаторы
Посмотреть все товары
Аксессуары
Вставки к эксикаторам
Крышки к эксикаторам
Элементы
Эталоны
Лабораторное оборудование
Посмотреть все товары
pH-метры и электроды
Посмотреть все товары
pH-электроды Atago
Аксессуары
Буферы и растворы электрохимии
Настольные рН-метры
Портативные рН-метры
Аварийные души
Автоматические установки
Анализаторы
Посмотреть все товары
Анализ дымовых газов
Анализ качества вина
Анализ кинетики межмолекулярных взаимодействий
Анализаторы (экстракторы) жира
Анализаторы БПК
Анализаторы СО2
Анализаторы СОЭ
Анализаторы ХПК
Анализаторы азота, белка
Анализаторы биохимические
Анализаторы вольтамперометрические
Анализаторы газов крови и электролитов
Анализаторы гематологические
Анализаторы глюкозы, лактата
Анализаторы жидкости
Анализаторы зерна, муки, кормов, растительного масла, семян
Анализаторы качества
Анализаторы качества воздуха
Анализаторы клетчатки
Анализаторы микотоксинов
Анализаторы микробиологические
Анализаторы молока и молочной продукции
Анализаторы мочи и осадка
Анализаторы мяса
Анализаторы натрия
Анализаторы нефти и нефтепродуктов
Анализаторы размера частиц
Анализаторы растворенного водорода
Анализаторы растворенного кислорода
Анализаторы содержания общего углерода и азота (ТОС)
Элементный анализ
Анализаторы влажности
Анализаторы вязкости (вискозиметры)
Анаэробные и микроаэрофильные станции
Аспираторы
Посмотреть все товары
Аксессуары
Бани
Посмотреть все товары
Бани водяные
Бани гистологические
Бани масляные
Бани паровые
Бани песчаные
Бани серологические
Бани ультразвуковые
Бани-шейкеры
Биопринтеры 3D
Посмотреть все товары
Аксессуары
Биочипы
Биореакторы и сосуды для культур клеток
Посмотреть все товары
Аксессуары
Бюретки цифровые
Вакуумметры
Посмотреть все товары
Аксессуары
Ванны ультразвуковые
Весовое оборудование
Посмотреть все товары
Аксессуары для весового оборудования
Аналитические весы
Весы с печатью этикеток
Весы-регистраторы
Гири
Крановые весы
Лабораторные весы
Механические весы
Платформенные весы
Специализированные весы
Счетные весы
Тележки весовые
Тензодатчики
Товарные весы
Торговые весы
Фасовочные весы
Виброакустика
Посмотреть все товары
Аттестованные методики
Доп. оборудование для виброакустических измерений
Калибраторы акустические и виброкалибраторы
Вортексы
Посмотреть все товары
Аксессуары
Газоанализаторы
Посмотреть все товары
Выносные преобразователи для газоанализаторов
Гомогенизаторы
Посмотреть все товары
Аксессуары
Гомогенизаторы ручные
ДНК-амплификаторы
Посмотреть все товары
Аксессуары
Дальномеры
Посмотреть все товары
Датчики влажности
Датчики для метеостанций
Дезинфекторы
Посмотреть все товары
Аксессуары
Денситометры
Детектор газа
Дигесторы
Посмотреть все товары
Аксессуары
Динамометры
Дистилляторы и Бидистилляторы
Посмотреть все товары
Комплектующие для дистилляторов
Сборники дистиллята
Электронагреватели трубчатые
Для лабораторий зернопереработки
Посмотреть все товары
Лабораторные мельницы
Смешивающе-делительные устройства
Дозаторы
Посмотреть все товары
Аксессуары и принадлежности к дозаторам
Дозаторы бутылочные
Дозаторы механические
Дозаторы пипеточные
Дозаторы пипеточные электрические
Дозаторы сыпучих веществ и жидкостей
Наконечники для дозаторов
Пипетки автоматические
Штативы для дозаторов оборудование
Дозиметры
Измерительные приборы
Посмотреть все товары
Измерители-регуляторы
Изоляторы фармацевтические
Импакторы микробиологические (воздухозаборники)
Посмотреть все товары
Аксессуары
Инкубаторы
Посмотреть все товары
Аксессуары
Иономеры
Испарители
Посмотреть все товары
Аксессуары
Испарители ротационные
Камеры испытательные
Посмотреть все товары
Аксессуары
Камеры климатические
Посмотреть все товары
Камеры бактерицидные
Кислородомеры
Посмотреть все товары
Аксессуары
Кислородные датчики и дополнительные принадлежности
Клетки и оборудование для содержания животных
Посмотреть все товары
Аксессуары
Аксессуары
Колбонагреватели
Посмотреть все товары
Аксессуары
Колориметры
Кондуктометры
Посмотреть все товары
Аксессуары
Датчики кондуктометрические
Контроль качества
Посмотреть все товары
Аксессуары
Контроль качества АСФАЛЬТОБЕТОНОВ
Контроль качества БИТУМОВ
Контроль качества ГЕОТЕКСТИЛЯ
Контроль качества КАТАЛИЗАТОРОВ
Контроль качества СМАЗОК
Контроль качества ТОПЛИВ
Контроль качества нефтепродуктов
Криозамораживатели
Посмотреть все товары
Аксессуары
Криотермостаты
Лиофильные сушилки
Посмотреть все товары
Аксессуары
Логгеры
Посмотреть все товары
Аксессуары
Льдогенераторы
Магнитные и верхнеприводные мешалки
Посмотреть все товары
Мешалки верхнеприводные
Мешалки вортекс
Мешалки магнитные
Медицинское оборудование
Посмотреть все товары
Больничное и Дополнительное оборудование
Дефибрилляторы
Медицинские анализаторы
Носилки медицинские
Офтальмологическое оборудование
Физиотерапевтическое оборудование
Мельницы
Посмотреть все товары
Аксессуары
Метеостанции
Микроскопы
Посмотреть все товары
ИК-Фурье микроскопы
Камеры для микроскопии
Камеры счетные для микроскопии
Комплектующие
Микроскопы биологические
Микроскопы зондовые
Микроскопы инвертированные
Микроскопы конфокальные
Микроскопы люминесцентные
Микроскопы металлографические
Микроскопы монокулярные
Микроскопы поляризационные
Микроскопы прямые
Микроскопы стерео
Микроскопы учебные и детские
Окуляры
Панкратические (ZOOM)
Стереомикроскопы
Цифровые камеры для микроскопов
Цифровые микроскопы USB и WiFi
Штативы
Миксеры
Многопараметровые приборы
Морозильники
Посмотреть все товары
Аксессуары
Мутномеры
Посмотреть все товары
Аксессуары
Насосы и комплектующие
Посмотреть все товары
Компрессоры
Насосы вакуумные
Насосы перистальтические
Насосы шприцевые
Облучатели бактерицидные
Посмотреть все товары
Облучатели-рециркуляторы
УФ-облучатели
Оборудование для дробления и измельчения
Посмотреть все товары
Грохоты вибрационные
Оборудование для деления, сокращения
Оборудование для истирания
Специальное технологическое и вспомогательное оборудование
Комплекты сит
Оборудование для разных направлений
Посмотреть все товары
Оборудование для анализа нефтепродуктов
Оборудование для анализа нефти и нефтепродуктов
Оборудование для детских и учебных заведений (школ)
Оборудование для лабораторий пищевой промышленности и ветеринарии
Оборудование для лабораторного производства таблеток, капсул, кремов, мазей, паст
Оборудование для молочной промышленности
Оборудование для нефтехимии
Оборудование для плазмолифтинга
Оборудование для рассева
Оборудование и комплектующие для тонкослойной хроматографии
Оборудование радиационного контроля
Печи
Посмотреть все товары
Дополнительные опции
Запасные части и комплектующие
Печи СВЧ
Печи муфельные
Печи стеклянные
Электропечи камерные
Электропечи трубчатые
Электропечи шахтные
Планшетные промыватели (вошеры)
Посмотреть все товары
Аксессуары
Плитки нагревательные
Посмотреть все товары
Аксессуары
Комплектующие для плит
Плотномеры
Посмотреть все товары
Аксессуары
Поляриметры
Посмотреть все товары
Аксессуары
Посудомоечные машины
Посмотреть все товары
Аксессуары
Прибор вакуумного фильтрования
Посмотреть все товары
Комплектующие к ПВФ Б и ПНФ Б
Приборы вакуумного фильтрования и Аппараты фильтрационные Вдадисарт
Просеивающие машины
Посмотреть все товары
Аксессуары
Различные приборы
Посмотреть все товары
Приборы для анализа полимеров
Приборы для учебных лабораторий и практикумов
Различные системы и установки
Посмотреть все товары
Гель- и хемидокументирующие системы
Микрофлюидные системы
Система пробоподготовки газов
Системы визуализации биолюминесценции in vivo
Системы изучения белков
Системы многопараметрического анализа клеток
Системы мониторинга микроклимата
Системы очистки воды
Системы очистки кислот
Установки для определения азота по Кьельдалю
Установки получения особо чистой воды
Разное оборудование
Посмотреть все товары
Аналитическое оборудование
Анаэростаты
Анемометры
Анестезия лабораторных животных
Арматура
Астропланетарии
Атомайзеры (УЗ-распылители)
Аэродинамические установки
Аэрозоли. Пыль (АПФД)
Аэроионы
Банковское оборудование
Белизномеры муки
Биоимиджинг
Блендеры
Блоки питания
Блоттинг
Боксы контролируемой атмосферы
Виалы и септы
Вспомогательное оборудование
Встряхиватели
Выпариватели оборудование
Генераторы водорода и кислорода
Генераторы жидкого азота
Генераторы сухого льда
Генераторы трассировочные
Генераторы чистых газов
Гистология, цитология
Деионизаторы воды
Деструкторы игл
Дилютеры
Диссоциаторы
Дифрактометры
Для испытательных лабораторий
Для молочной промышленности
Дополнительное трассопоисковое оборудование
Запаивание ампул
Запаиватели, запечатыватели планшетов
Зонды
Зрительные трубы
Измерители-регистраторы
Имитаторы
Инактиваторы сыворотки
Индикаторы стерилизации
Инкапсуляторы
Калориметры
Комплекты приборов
Комплекты хлебопекарного оборудования
Контролируемое культивирование в колбах
Контроль стерильности препаратов и изделий
Концентратомеры
Концентраторы
Коррозиметры
Кулонометры
Кэпперы
Лампы Вуда
Люксметры
Люминометры
Маркировочное оборудование
Микробиологический контроль воздуха и газов, жидкостей
Микродиссекторы, микроперфораторы, лазеры
Микроклимат
Микроманипуляторы, микроинъекторы, микрокузницы, пулеры
Микроматричный анализ
Микротомы, криотомы
Монитор качества воздуха
Монокуляры
Мультиплексный анализ
Наборы мер КФК
Нестандартные (несерийные) разработки
Нитратомеры
Осмометры
Осушка газов
Оттаивание и насыщение
Охладители (чиллеры)
ПЦР
Перекачивающие системы
Перемешивающие устройства
Пирометры
Пиросеквенаторы
Планетарии
Преобразователи
Приборы для поиска мест повреждений и испытания кабеля
Принтеры
Пробойники FTA-карт
Продукция Биофизическая аппаратура
Продукция Сибэкоприбор
Промышленное оборудование
Радиометры
Размораживатели
Реакторные блоки
Редукторы газа
Репликаторы (перенос колоний)
Респираторы
Респирометры
Роллеры
Ротаторы
Секвенаторы белков, ДНК
Селекция и перенос клеток эукариот, колоний прокариот
Сенсоры (датчики)
Сенсоры и микрокомпрессоры
Сепараторы магнитные
Сетевое оборудование
Синтезаторы ДНК
Синтезаторы белков
Сканеры лазерные
Сканеры штрихкода
Смарт-зонды, термометры для смартфона
Соковыжималки, валовой пресс
Спектроколориметры
Спектрофлуориметры
Специальное оборудование
Средоварки и разливочные станции
Станции выделения НК и белков, дозирования
Станции, перчаточные боксы и инкубаторы для создания условий гипоксии
Степперы
Стереотаксис
Стерилизация и дезинфекция
Счетчики
Телескопы
Термоанализ
Термоблоки
Термодатчики
Термоизмерительные преобразователи
Термометры контактные, зонды и комплекты
Термощупы
Тестомесилки
Течеискатели воды
Трансиллюминаторы
Трассоискатели и кабелеискатели
Трассотечеискатели
Трихинеллоскопы оборудование
Упаковочное оборудование
Устройства подготовки пробы
Фильтрация ультра (ДНК, белков концентрирование)
Фильтровальное оборудование и материалы
ХПК и БПК
Цитометры
Шкафы влажного хранения
Шкафы для хранения эндоскопов
Штативы-охладители (мини-холодильники)
Шумомеры
ЭКО: рабочие станции
Эбуллиометры
Эвтаназия лабораторных животных
Экспедиционное оборудование
Экструдеры
Электромагнитные поля
Электропораторы, генные пушки
Реакторы химические
Посмотреть все товары
Аксессуары
Рефрактометры
Посмотреть все товары
Аксессуары
Ротационные перемешиватели
Посмотреть все товары
Аксессуары
Солемеры
Спектрометры
Посмотреть все товары
Масс-спектрометры
Спектрометры атомно-абсорбционные
Спектрофотометры
Посмотреть все товары
Аксессуары
Держатели для кювет и светофильтров
Лампы для спектрофотометров
Светофильтры для спектрофотометров
Стерилизаторы
Посмотреть все товары
Стерилизаторы воздушные
Стерилизаторы паровые
Стерилизаторы суховоздушные
Строительное оборудование
Посмотреть все товары
Камеры морозильные
Камеры нормального твердения
Лазерные рулетки
Нивелиры
Сушилки распылительные
Толщиномеры
Термогигрометры
Посмотреть все товары
Измерительные преобразователи
Термостаты
Посмотреть все товары
Аксессуары
Теплоносители
Термостаты жидкостные
Термостаты суховоздушные
Термостаты твердотельные
Термостаты циркуляционные
Титраторы
Посмотреть все товары
Аксессуары
Физико-химический анализ
Флокуляторы
Флуориметры
Посмотреть все товары
Аксессуары
Фотометры
Посмотреть все товары
Аксессуары
Специальные наборы для фотометров
Холодильники
Посмотреть все товары
Аксессуары
Хроматография
Посмотреть все товары
Аксессуары
Расходные материалы
Хроматография тонкослойная
Хроматомасс спектрометры
Центрифуги
Посмотреть все товары
Адаптеры для пробирок
Аксессуары
Роторы
Центрифуги молочные
Шейкеры
Посмотреть все товары
Аксессуары
Шкафы сушильные
Посмотреть все товары
Аксессуары
Контроллеры и комплектующие
Экстракторы
Посмотреть все товары
Аксессуары
Отгонка с паром (Кьельдаль)
Экстракция жиров
Экстракция клетчатки
Экстракция твердофазная
Экстракция твердофазная вакуумная
Электрофорез
Посмотреть все товары
Аксессуары
Лабораторные принадлежности
Посмотреть все товары
Аксессуары
Баллоны
Посмотреть все товары
Баллоны для отбора проб газа
Бахилы
Бинокли
Бинты
Бумага
Посмотреть все товары
Бумага фильтровальная
Крафт-бумага
Пергамент
Вата
Горелки
Груши
Держатели
Диспенсеры
Ерши
Зажимы
Индикаторная бумага, рН-индикаторы
Индикаторные трубки и аспираторы
Кабели для лабораторных принадлежностей
Карандаши
Кассеты, формы заливочные, лезвия для гистологии
Ключи для обжима и открывания алюминиевых крышек
Посмотреть все товары
Аксессуары
Колпачки лабораторные
Комбинезоны
Компасы
Контроллеры для пипеток
Лазерные уровни
Литература
Посмотреть все товары
Агрохимия. Почвоведение
Ветеринария
Вода
Воздух
Защита растений
Качество и безопасность продовольственного сырья и пищевых продуктов
Пестициды литература
Почва
Справочники по химии, токсикологии, микробиологии и пр.
Ложки
Лотки
Лупы
Маркеры
Маркировка
Посмотреть все товары
Аксессуары
Марля
Маски
Мембраны
Посмотреть все товары
Мембраны для микробиологического контроля жидкостей
Мембраны и фильтры для блоттинга
Мешки для культур клеток
Наконечники
Ножи
Ножницы
Одежда для чистых помещений
Очки защитные
Пакеты
Посмотреть все товары
Пакеты для автоклавирования отходов
Пакеты для гомогенизации образцов
Пакеты для медицинских отходов
Пакеты для транспортировки образцов
Парафильмы
Пеналы для пипеток и чашек Петри
Посмотреть все товары
Аксессуары
Перемешивающие элементы и извлекатели
Перчатки
Петли
Посмотреть все товары
Аксессуары
Петледержатели
Петли бактериологические
Петли микробиологические
Петли ректальные
Пинцеты
Пластины для ТСХ
Посмотреть все товары
Наборы для ТСХ
Пленки
Посмотреть все товары
Пленка рентгеновская
Пленки, фольга, маты, воск для планшетов
Подносы
Подставки
Покрытия для защиты рабочей поверхности
Полотенца бумажные, диспенсеры
Примусы
Принадлежности для забора крови
Посмотреть все товары
Жгуты
Иглы
Ланцеты
Пробирки вакуумные
Пробки и крышки
Пробоотборники
Посмотреть все товары
Пробоотбор воды и донных отложений
Программное обеспечение
Промывалки
Протирочные материалы
Разные лабораторные принадлежности
Рулетки
Секундомеры и таймеры
Сита лабораторные
Скальпели
Посмотреть все товары
Аксессуары
Скарификаторы
Слайды калибровочные
Совки
Спецодежда для лабораторий и СИЗы
Спринцовки
Стеклографы
Стеклорезы
Сушилки для посуды
Тампон-зонды
Тампонодержатели
Термосумки, аккумуляторы холода
Тест-полоски
Титр-трубки
Треноги, треугольники, сетки
Трубки
Посмотреть все товары
Трубки вакуумные
Трубки медицинские дренажные
Трубки медицинские соединительные
Укладки для лаборанта
Уплотнители
Фильтры
Посмотреть все товары
Картриджи и предфильтры для ДМ, ДМБ, ДМЭ
Мембраны Владисарт
Фильтродержатели для фильтрации жидкостей и газов
Фильтрующие насадки (шприцевые фильтры)
Фильтрующие системы
Фильтры (мембраны) для фильтрации жидкостей и газов
Фильтры АФА и фильтродержатели ИРА
Фильтры бумажные
Фильтры бумажные беззольные
Фильтры бумажные для анализа почв
Фильтры бумажные для молока, вина, пива, сахарной промышленности
Фильтры бумажные для определения всхожести и скорости прорастания семян
Фильтры бумажные для хроматографии
Фильтры бумажные зольные
Фильтры бумажные общего назначения
Фильтры и фильтровальная бумага
Фильтры мембранные Владипор
Фитили Лабораторные принадлежности
Фонарики
Халаты
Хирургический инструментарий
Часы
Посмотреть все товары
Часы песочные
Часы-термометр
Чехлы
Шапочки
Шланги
Посмотреть все товары
Шланги (трубки, магистрали) для жидкостей и газов
Шланги, магистрали газовые вакуумные
Шпатели
Шприцы
Посмотреть все товары
Аксессуары
Шприцы для нейрофизиологии
Штативы и зажимы Лабораторные принадлежности
Посмотреть все товары
Принадлежности к штативам
Штативы для виал хроматографических
Штативы для делительных воронок
Штативы для дозаторов принадлежности
Штативы для криопробирок
Штативы для кювет
Штативы для пипеток автоматических механических
Штативы для пробирок
Штативы химические (лабораторные стойки), зажимы, узлы, лапки
Штативы-поплавки
Щетки
Посмотреть все товары
Щетки для мытья рук
Щипцы
Посмотреть все товары
Щипцы тигельные
Щитки для лица
Лабораторные термометры
Посмотреть все товары
Вспомогательные приспособления лабораторных термометров
Гигрометры
Оправы защитные
Термоконтакторы
Посмотреть все товары
Сигнализаторы понижения давления
Термоконтакторы для инкубаторов ТК-40А
Термоконтакторы одноконтактные ТК-15
Термоконтакторы одноконтактные ТК-16
Термоконтакторы одноконтактные ТК-1П
Термоконтакторы одноконтактные ТК-34
Термоконтакторы одноконтактные ТК-52
Термометры
Термометры ASTM
Термометры виброустойчивые СП-1
Термометры для инкубаторов
Термометры для нефтепродуктов
Термометры для сельского хозяйства
Термометры для точных измерений
Термометры контактные лабораторные
Термометры лабораторные
Термометры метеорологические
Термометры промышленные
Термометры специальные
Термометры технические
Посмотреть все товары
Термометры технические жидкостные СП-2
Термометры технические жидкостные ТТЖ
Термометры технические жидкостные ТТК
Термометры технические ртутные ТТ
Термометры цифровые
Термометры электроконтактные ТПК
Термометры эталонные
Химические реактивы
Посмотреть все товары
pH-буферы
Антисептики, дозаторы локтевые и диспенсеры
Антитела
Посмотреть все товары
Антитела вторичные
Антитела первичные конъюгированные
Антитела первичные неконъюгированные
Наборы для конъюгации антител
Панели антител
Растворы для разведения антител
Геномика
Посмотреть все товары
Блоттинг нуклеиновых кислот
Выделение и очистка нуклеиновых кислот
Генотипирование
Изотермическая амплификация
Карты бумажные для сбора, хранения и транспортировки нуклеиновых кислот
Магнитные частицы
МикроРНК (miRNA)
Молекулярное клонирование, модификация нуклеиновых кислот
Обратная транскрипция
Очистка нуклеиновых кислот для секвенирования
ПЦР: наборы, миксы
Редактирование генома
Секвенирование NGS
Секвенирование нанопоровое
Секвенирование по Сэнгеру
Средства деконтаминации
Трифосфаты
Ферменты
Фрагментный анализ
Электрофорез нуклеиновых кислот
Эндонуклеазы рестрикции (рестриктазы)
Эпигенетика
Дезинфицирующие и моющие средства
Посмотреть все товары
Аксессуары
Моющие средства
Средства дезинфекции
Жидкостная хроматография
Посмотреть все товары
Ионообменные смолы
ИФА (ELISA)
Посмотреть все товары
Вспомогательные реагенты и буферы для ИФА
ИФА наборы
Конъюгаты стрептавидина
Наборы ELISPOT и FLUOROSPOT для ИФА живых культур клеток, Abcam
Иммуногистохимия (ИГХ), иммуноцитохимия (ИЦХ), проточная цитометрия
Посмотреть все товары
Аксессуары для иммуногистохимии (ИГХ), иммуноцитохимии (ИЦХ), проточных цитометрий
Буферы и растворы для ИГХ
Красители флуоресцентные
Красители цитологические
Наборы и субстраты для детекции методом ИГХ
Наборы иммунохроматографические
Растворы для депарафинизации срезов
Среды для заключения препаратов
Индикаторы
Калибровочные растворы
Культуральные среды, сыворотки, заменители, добавки
Посмотреть все товары
Антибиотики, буферы, добавки, ферменты, факторы роста для культуральных сред
Детекция и удаление микоплазм
Красители и наборы
Матриксы культуральные
Репрограммирование клеток: наборы и реагенты
Среды для клеток насекомых
Среды для культивирования CHO
Среды для культивирования HEK 293
Среды для наработки вирусов
Среды и добавки для стволовых клеток
Среды и реагенты для кариотипирования
Среды и реагенты для криоконсервации клеток
Среды культуральные
Среды культуральные без животных компонентов
Среды культуральные для гибридом и миелом
Сыворотки эмбриональные, заменители сывороток
Трансфекция
Микробиологические среды, компоненты, добавки, штаммы микроорганизмов
Посмотреть все товары
Готовые питательные среды
Диски с антибиотиками
Компоненты микробиологических сред
Контактные чашки Петри
Наборы для анализа жизнеспособности клеток бактерий и дрожжей
Наборы для детекции микроорганизмов методом ПЦР
Питательные подложки
Среды для молекулярной биологии
Среды микробиологические
Тесты биохимической идентификации микроорганизмов
Хромогенные среды
Эталонные штаммы микроорганизмов
Микробиологические экспресс-тесты
Посмотреть все товары
Аксессуары
Наборы диагностические для ПЦР
Наборы для СМЭ и ЭКЦ
Посмотреть все товары
Тест-наборы для определения следов крови, слюны и спермы
Растворители
Наборы для работы с растениями
Посмотреть все товары
Наборы для диагностики заболеваний растений
Протеомика
Посмотреть все товары
Блоттинг: контроли электрофореза, ингибиторы протеаз и фосфатаз, реагенты и ECL наборы для хемилюминисцентной детекции
Буферы для электрофореза и блоттинга белков
Гелевые стрипы для 2D-электрофореза
Гели для электрофореза белков (Abcam, Bio-Rad, Thermo)
Красители для белков
Маркеры молекулярного веса белков, контроли
Наборы для очистки белков
Хроматография белков
Электрофорез белков
Разные химические реактивы
Посмотреть все товары
Волюметрический (титриметрический) анализ: готовые растворы, фиксаналы
Кислоты
Крем для рук
Культуры клеток
Масло иммерсионное
Реагенты для биохимии и микробиологии
Реактивы для анализов
Реактивы для измерения ХПК
Ростовые факторы и цитокины
Тест-комплекты для экспресс анализа СТ-ТИТР
Тест-комплекты для экспресс-анализа СТ-ФОТО
Экос 1
Растворы для обслуживания
Реагенты Hanna Instruments
Реагенты для с/ф и колориметров HACH
Реагенты для титрования по Карлу Фишеру
Посмотреть все товары
Вспомогательные реагенты Аква-М
ГСО массовой доли воды в органической жидкости АКВА-М
Реагенты Аква-М для объемного титрования
Реактивы Аква-М для кулонометрии
Стандарты содержания воды Аква-М
Титранты
Сорбенты для хроматографии
Стандарт-титры
Стандартные образцы
Посмотреть все товары
ГСО детонационной стойкости (октанового числа) бензинов
ГСО массовой доли золы в нефтепродуктах
ГСО массовой доли серы в дизельном топливе
ГСО мутности
ГСО общей жесткости питьевой и поверхностной водах
ГСО органических веществ
ГСО свойств водных сред
ГСО состава растворов анионов
ГСО состава растворов катионов (ионов металлов и неметаллов)
ГСО экотоксикантов/Стандартные образцы экотоксикантов
Реагенты для приборов "Эксперт"
СО Certipur для калибровки в ионной хроматографии
СО для анализа напитков и пищевых продуктов
СО для фармацевтического анализа
СО для хроматографии
Стандартные образцы экотоксикантов, свойств и состава веществ
Стандарты нефтехимии
Стандарты цветности (готовые растворы) в соответствии с Ph Eur
Тест-наборы
Техническая химия
Экзосомы: выделение и анализ
Растворы и реагенты для электрохимии
8 495 147-87-75
8 495 147-87-75
Отдел продаж
8 800 551-50-10
Бесплатный звонок по России
Режим работы
Пн-Чт с 8:00 до 17:00
Пт с 8:00 до 16:00
Личный кабинет
Вход
Регистрация
Избранное
0
Сравнение
0
Просмотренные товары
0
О компании
Оплата и доставка
Контакты
Реквизиты
Сертификаты дилера
Политика конфиденциальности
О компании
Оплата и доставка
Контакты
Реквизиты
Сертификаты дилера
Политика конфиденциальности
mail@desta-lab.ru
8 495 147-87-75
Отдел продаж
8 800 551-50-10
Бесплатный звонок по России
Режим работы:
Пн-Чт с 8:00 до 17:00
Пт с 8:00 до 16:00
Каталог товаров
Лабораторная мебель
Изделия общего назначения
Ламинарные шкафы и боксы ПЦР
Сантехнические принадлежности для лабораторий
Столики подъемные
Столы демонстрационные
Столы для весов
Столы для микроскопирования
Столы для титрования
Столы для хроматографов
Столы для центрифуг
Столы компьютерные
Столы лабораторные
Столы мойки
Столы передвижные
Столы письменные
Столы преподавателя-лаборанта
Столы приборные
Столы пристенные лабораторные
Столы радиомонтажные
Столы специальные
Столы торцевые
Столы угловые
Столы учащегося
Столы ученические
Столы-тумбы
Стулья и табуреты
Тележки транспортировочные
Тумбы
Шкафы вытяжные
Шкафы гардеробные
Шкафы демонстрационные
Шкафы для газовых баллонов
Шкафы для кислот
Шкафы для нагревательных печей
Шкафы для одежды
Шкафы для стерильного хранения
Шкафы для химреактивов
Шкафы для хранения
Шкафы для хранения посуды, документов
Шкафы лабораторные
Шкафы модульные
Шкафы навесные
Шкафы сухого хранения
Лабораторная мебель
Лабораторная посуда
Алонжи
Ампулы
Аппараты
Ареометры
Баки
Банки
Барабаны
Барбатеры
Бидистилляторы
Бутирометры
Бутыли и бутылки
Бюксы
Бюретки
Вакуумметры
Ванночки (резервуары) для многоканальных пипеток
Виалы и септы
Вискозиметры стеклянные
Воронки
Выпарительные пластины
Газоанализаторы
Газопромыватели
Графины
Датчики Лабораторная посуда
Детали и оборудование к приборам и аппаратам
Дефлегматоры
Диссоциометры
Дифманометры
Дозаторы
Емкости
Запчасти к приборам
Затворы
Изгибы
Изделия бытового назначения
Испарители
Камеры
Капельницы
Капилляры
Каплеуловители
Кастрюли
Ковши
Колбы
Коллекторы
Колонки
Колпачки
Комплекты для окраски препаратов
Комплекты и наборы стекла
Конденсаторы
Контейнеры
Корзины
Краны
Кружки
Кюветы
Лаборатории
Лабораторная посуда из фторопласта
Ловушки
Лодочки
Ложки
Лопаточки
Лотки
Мановакуумметры
Мензурки
Мешалки
Муфты
Насадки
Насосы
Обечайки
Отстойники
Палочки
Пауки
Переходники
Переходы
Пикнометры
Пипетки
Планшеты
Пластик и стекло для культур клеток
Поглотители
Подставки
Полислайд
Поплавки
Посуда пластиковая для работ с растениями
Приборы
Приборы и принадлежности для СОЭ
Приемники
Пробирки
Промывалки
Психрометры
Разная лабораторная посуда
Реометры
Склянки
Сосуды
Спиртовки
Стаканчики
Стаканы
Стекла
Стеклошарики
Ступки и пестики
Тигли
Тройники
Трубки
Установки
Фильтры
Флаконы
Холодильники
Цилиндры
Чаши
Чашки
Шары
Шлифы
Эвдиометры
Эксикаторы
Элементы
Эталоны
Лабораторная посуда
Лабораторное оборудование
pH-метры и электроды
Аварийные души
Автоматические установки
Анализаторы
Анализаторы влажности
Анализаторы вязкости (вискозиметры)
Анаэробные и микроаэрофильные станции
Аспираторы
Бани
Биопринтеры 3D
Биореакторы и сосуды для культур клеток
Бюретки цифровые
Вакуумметры
Ванны ультразвуковые
Весовое оборудование
Виброакустика
Вортексы
Газоанализаторы
Гомогенизаторы
ДНК-амплификаторы
Дальномеры
Дезинфекторы
Денситометры
Детектор газа
Дигесторы
Динамометры
Дистилляторы и Бидистилляторы
Для лабораторий зернопереработки
Дозаторы
Дозиметры
Измерительные приборы
Изоляторы фармацевтические
Импакторы микробиологические (воздухозаборники)
Инкубаторы
Иономеры
Испарители
Камеры испытательные
Камеры климатические
Кислородомеры
Клетки и оборудование для содержания животных
Колбонагреватели
Колориметры
Кондуктометры
Контроль качества
Криозамораживатели
Криотермостаты
Лиофильные сушилки
Логгеры
Льдогенераторы
Магнитные и верхнеприводные мешалки
Медицинское оборудование
Мельницы
Метеостанции
Микроскопы
Миксеры
Многопараметровые приборы
Морозильники
Мутномеры
Насосы и комплектующие
Облучатели бактерицидные
Оборудование для дробления и измельчения
Оборудование для разных направлений
Печи
Планшетные промыватели (вошеры)
Плитки нагревательные
Плотномеры
Поляриметры
Посудомоечные машины
Прибор вакуумного фильтрования
Просеивающие машины
Различные приборы
Различные системы и установки
Разное оборудование
Реакторы химические
Рефрактометры
Ротационные перемешиватели
Солемеры
Спектрометры
Спектрофотометры
Стерилизаторы
Строительное оборудование
Термогигрометры
Термостаты
Титраторы
Физико-химический анализ
Флокуляторы
Флуориметры
Фотометры
Холодильники
Хроматография
Центрифуги
Шейкеры
Шкафы сушильные
Экстракторы
Электрофорез
Лабораторное оборудование
Лабораторные принадлежности
Аксессуары
Баллоны
Бахилы
Бинокли
Бинты
Бумага
Вата
Горелки
Груши
Держатели
Диспенсеры
Ерши
Зажимы
Индикаторная бумага, рН-индикаторы
Индикаторные трубки и аспираторы
Кабели для лабораторных принадлежностей
Карандаши
Кассеты, формы заливочные, лезвия для гистологии
Ключи для обжима и открывания алюминиевых крышек
Колпачки лабораторные
Комбинезоны
Компасы
Контроллеры для пипеток
Лазерные уровни
Литература
Ложки
Лотки
Лупы
Маркеры
Маркировка
Марля
Маски
Мембраны
Мешки для культур клеток
Наконечники
Ножи
Ножницы
Одежда для чистых помещений
Очки защитные
Пакеты
Парафильмы
Пеналы для пипеток и чашек Петри
Перемешивающие элементы и извлекатели
Перчатки
Петли
Пинцеты
Пластины для ТСХ
Пленки
Подносы
Подставки
Покрытия для защиты рабочей поверхности
Полотенца бумажные, диспенсеры
Примусы
Принадлежности для забора крови
Пробки и крышки
Пробоотборники
Программное обеспечение
Промывалки
Протирочные материалы
Разные лабораторные принадлежности
Рулетки
Секундомеры и таймеры
Сита лабораторные
Скальпели
Скарификаторы
Слайды калибровочные
Совки
Спецодежда для лабораторий и СИЗы
Спринцовки
Стеклографы
Стеклорезы
Сушилки для посуды
Тампон-зонды
Тампонодержатели
Термосумки, аккумуляторы холода
Тест-полоски
Титр-трубки
Треноги, треугольники, сетки
Трубки
Укладки для лаборанта
Уплотнители
Фильтры
Фитили Лабораторные принадлежности
Фонарики
Халаты
Хирургический инструментарий
Часы
Чехлы
Шапочки
Шланги
Шпатели
Шприцы
Штативы и зажимы Лабораторные принадлежности
Щетки
Щипцы
Щитки для лица
Лабораторные принадлежности
Лабораторные термометры
Вспомогательные приспособления лабораторных термометров
Гигрометры
Оправы защитные
Термоконтакторы
Термометры
Термометры ASTM
Термометры виброустойчивые СП-1
Термометры для инкубаторов
Термометры для нефтепродуктов
Термометры для сельского хозяйства
Термометры для точных измерений
Термометры контактные лабораторные
Термометры лабораторные
Термометры метеорологические
Термометры промышленные
Термометры специальные
Термометры технические
Термометры цифровые
Термометры электроконтактные ТПК
Термометры эталонные
Лабораторные термометры
Химические реактивы
pH-буферы
Антисептики, дозаторы локтевые и диспенсеры
Антитела
Геномика
Дезинфицирующие и моющие средства
Жидкостная хроматография
ИФА (ELISA)
Иммуногистохимия (ИГХ), иммуноцитохимия (ИЦХ), проточная цитометрия
Индикаторы
Калибровочные растворы
Культуральные среды, сыворотки, заменители, добавки
Микробиологические среды, компоненты, добавки, штаммы микроорганизмов
Микробиологические экспресс-тесты
Наборы диагностические для ПЦР
Наборы для СМЭ и ЭКЦ
Наборы для работы с растениями
Протеомика
Разные химические реактивы
Растворы для обслуживания
Реагенты Hanna Instruments
Реагенты для с/ф и колориметров HACH
Реагенты для титрования по Карлу Фишеру
Сорбенты для хроматографии
Стандарт-титры
Стандартные образцы
Тест-наборы
Техническая химия
Экзосомы: выделение и анализ
Растворы и реагенты для электрохимии
Химические реактивы
Выберите категорию
Поиск
Посмотреть все результаты
Личный кабинет
Сравнение
0
Избранное
0
Корзина
0
₽
пуста
Товары в корзине
Итого:
0
₽
Оформить заказ
Лабораторная посуда
Насадки
Плитка
Подробно
Компактно
Кол-во:
30
30
60
90
150
Цена производителя
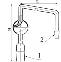
Насадка Вюрца Н1-29/32-29/32-29/32
1 918,62
₽
Артикул: MM_21004814
Быстрый просмотр
Добавить в избранное
Добавить к сравнению
В корзину
Цена производителя
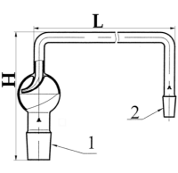
Насадка Вюрца Н1-14/23-14/23-14/23
1 272,35
₽
Артикул: MM_21004813
Быстрый просмотр
Добавить в избранное
Добавить к сравнению
В корзину
Цена производителя
Насадка-барбатер ГФ 6.451.254-01
по запросу
Артикул: HP_4496
Быстрый просмотр
Добавить в избранное
Добавить к сравнению
В корзину
Цена производителя
Насадка-барбатер ГФ 6.451.254 (нитрозамин)
2 646,11
₽
Артикул: HP_2329
Быстрый просмотр
Добавить в избранное
Добавить к сравнению
В корзину
Цена производителя
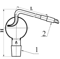
Насадка эскиз 1-140/1
2 670,38
₽
Артикул: HP_4756
Быстрый просмотр
Добавить в избранное
Добавить к сравнению
В корзину
Цена производителя
Насадка эскиз 2-1144/2
4 005,57
₽
Артикул: HP_4102
Быстрый просмотр
Добавить в избранное
Добавить к сравнению
В корзину
Цена производителя
Насадка эскиз 2-529
по запросу
Артикул: HP_2523
Быстрый просмотр
Добавить в избранное
Добавить к сравнению
В корзину
Цена производителя
Насадка эскиз 2-553
2 354,78
₽
Артикул: HP_2550
Быстрый просмотр
Добавить в избранное
Добавить к сравнению
В корзину
Цена производителя
Насадка эскиз 2-711
8 278,15
₽
Артикул: HP_2959
Быстрый просмотр
Добавить в избранное
Добавить к сравнению
В корзину
Цена производителя
Насадка эскиз 5-281
5 073,71
₽
Артикул: HP_2674
Быстрый просмотр
Добавить в избранное
Добавить к сравнению
В корзину
Цена производителя
Насадка эскиз 2-703
2 063,47
₽
Артикул: HP_2944
Быстрый просмотр
Добавить в избранное
Добавить к сравнению
В корзину
Цена производителя
Насадка эскиз 5-496
по запросу
Артикул: HP_4022
Быстрый просмотр
Добавить в избранное
Добавить к сравнению
В корзину
Цена производителя
Насадка эскиз 5-525
15 221,12
₽
Артикул: HP_4372
Быстрый просмотр
Добавить в избранное
Добавить к сравнению
В корзину
Цена производителя
Насадка с холодильником эскиз 5-479
9 613,33
₽
Артикул: HP_3887
Быстрый просмотр
Добавить в избранное
Добавить к сравнению
В корзину
Цена производителя
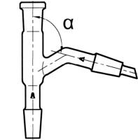
Насадка с каплеуловителем ГФ 5.927.001 АДОМ
10 414,46
₽
Артикул: HP_3228
Быстрый просмотр
Добавить в избранное
Добавить к сравнению
В корзину
Цена производителя
Насадка с краном эскиз 5-508
по запросу
Артикул: HP_4127
Быстрый просмотр
Добавить в избранное
Добавить к сравнению
В корзину
Цена производителя
Насадка типа Н1-29/32-29/32-29/32 ТС гф 6.451.379
5 073,71
₽
Артикул: HP_4333
Быстрый просмотр
Добавить в избранное
Добавить к сравнению
В корзину
Цена производителя
Насадка с шарами эскиз 5-510
по запросу
Артикул: HP_4141
Быстрый просмотр
Добавить в избранное
Добавить к сравнению
В корзину
Цена производителя
Насадка универсальная водоотделительная эскиз 2-1236-01
33 646,70
₽
Артикул: HP_4363
Быстрый просмотр
Добавить в избранное
Добавить к сравнению
В корзину
Цена производителя
Насадка типа НЭТ эскиз 5-498
по запросу
Артикул: HP_910
Быстрый просмотр
Добавить в избранное
Добавить к сравнению
В корзину
Цена производителя
Насадка универсальная водоотделительная эскиз 2-1236
34 714,84
₽
Артикул: HP_4354
Быстрый просмотр
Добавить в избранное
Добавить к сравнению
В корзину
Цена производителя
Насадка Н2-29/32-14/23 ГОСТ 25336-82
2 500,44
₽
Артикул: HP_1092
Быстрый просмотр
Добавить в избранное
Добавить к сравнению
В корзину
Цена производителя
Насадка Н1-45/40-14/23-29/32 эскиз 2-979
4 272,60
₽
Артикул: HP_3667
Быстрый просмотр
Добавить в избранное
Добавить к сравнению
В корзину
Цена производителя
Насадка НЭТ-250 ТС ГОСТ 25336-82
6 141,85
₽
Артикул: HP_1121
Быстрый просмотр
Добавить в избранное
Добавить к сравнению
В корзину
Цена производителя
Насадка НЭТ-100 ТС ГОСТ 25336-82
4 539,63
₽
Артикул: HP_1723
Быстрый просмотр
Добавить в избранное
Добавить к сравнению
В корзину
Цена производителя
Насадка НЭТ-150 ТС ГОСТ 25336-82
5 340,75
₽
Артикул: HP_1540
Быстрый просмотр
Добавить в избранное
Добавить к сравнению
В корзину
Цена производителя
Насадка НЭТ-500 ТС ГОСТ 25336-82
8 812,23
₽
Артикул: HP_1120
Быстрый просмотр
Добавить в избранное
Добавить к сравнению
В корзину
Цена производителя
Насадка НЭТ-1000 ТС ГОСТ 25336-82
11 749,64
₽
Артикул: HP_1119
Быстрый просмотр
Добавить в избранное
Добавить к сравнению
В корзину
Цена производителя
Насадка с воронками эскиз 5-502
13 885,93
₽
Артикул: HP_4054
Быстрый просмотр
Добавить в избранное
Добавить к сравнению
В корзину
Цена производителя
Насадка с дефлегматором и холодильником эскиз 5-526
9 880,38
₽
Артикул: HP_4568
Быстрый просмотр
Добавить в избранное
Добавить к сравнению
В корзину
1
2
→
сравнить товары
(0)
Закрыть окно
(Окно закроется через
сек.)
Количество:
1
Перейти в корзину
Сравнение
0
Сравнение
Избранное
0
Избранное
0
Корзина
0
₽
0
0
0
0